Dieser Flieger ist wohl das bekannteste Modell in Europa.
Man kann sehr viele unterschiedliche Flieger aus dem Basismodell falten.
Leider ist er kein besonders guter Gleiter, aber mit ein paar Tricks kann man das Problem in den Griff bekommen.
1) Man faltet ein Blatt der Länge nach und faltet es wieder auf:

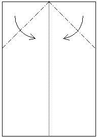
2) Die beiden oberen Ecken werden zur Mitte hingefaltet:

3)Die Seiten die das obere Dreieck bilden, werden zur Mitte hin gefaltet:

4) Die beiden Seiten werden zusammengefaltet:

Nun gibt es zwei Möglichkeiten, wie man die Tragflächen faltet.
Man kann die Tragflächen parallel zum Rumpf falten - dies führt zu einer großen Tragfläche mit einem starkem Auftrieb - oder man faltet die Tragflächen schräg - der Rumpf ist größer, womit die Kurvenstabilität höher wird, aber der Auftrieb ist geringer.

Dies muss auch für die andere Tragfläche durchgeführt werden.
Auf Symmetrie achten. Man erhält dann von oben betrachtet einen der Beiden Flieger:

Um die Gleiteigenschaften zu verbessern, sollten die hinteren Ecken nach oben LEICHT aufgebogen werden:
Die zweite Möglichkeit besteht in der Verwendung eines Hilfsdreieck:

Auch die Y-Stellung nicht vergessen, mit aller Kraft leicht nach oben schießen.